Patent predstavlja dron s ekranom na centralnom dijelu te četiri propelera, po jedan u svakom uglu, a u opisu se navodi da dron posjeduje i kameru te opservacijski sistem za prijenos informacija do glavne kontrolne jedinice. Sistem može pratiti oči, glavu, ruke i prste korisnika. Brzina i smjer drona se mogu kontrolisati pokretima glave, ruku ili očiju, a dron može automatski pratiti korisnike bez ikakvih dodatnih pokreta.

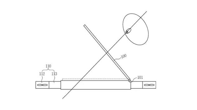
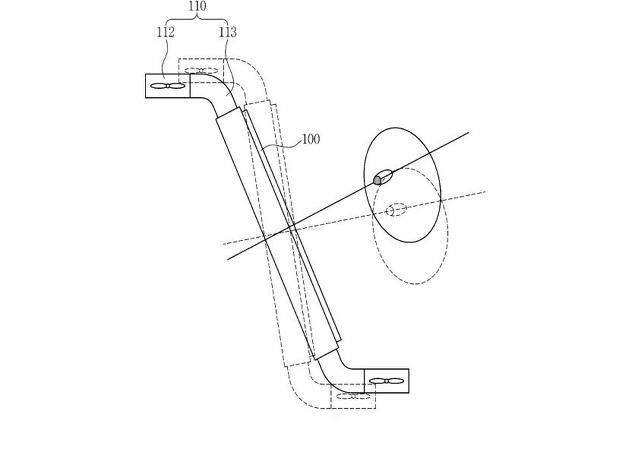
Dron je prikazan i bočno te nije ograničen na oblik s četiri propelera, nego se njegov oblik može mijenjati.
Dron može imati i žiroskop, senzor za pokret, vibracijski sistem i/ili akcelerometar, mogućnost prepoznavanja glasa, kao i sistem pozicioniranja baziran na GPS-u i WiFi-ju. Patent je predan 3. januara 2016. godine, a prihvaćen je 13. februara ove godine.

Na skicama su prikazane i spojnice te propeleri koji mogu promijeniti pravac potiska. Ugao ekrana se također može mijenjati tokom leta. Dron bi posjedovao i jedinicu za otkrivanje prepreka te bi ih mogao automatski izbjegavati.
Samsung nije jedina kompanija koja razvija dronove. Amazon je patentirao mnogo konceptnih dronova poput onih koji se samouništavaju u slučaju hitnih situacija.