25.12.2015.
Aviokompanije i proizvođači aviona tokom 2015. godine od svojih su uposlenika i inžinjera dobili nekoliko iznimno zanimljivih prijedloga za inovacije u ovoj vrsti saobraćaja.
Britanski Independent je izdvojio pet najboljih koji su ističu neobičnošću ali i efikasnošću.
1. Sistem SkyDeck bi omogućio putnicima da posmatraju let aviona sa samog vrha letjelice.

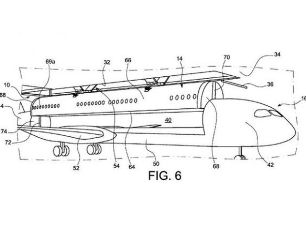
2. Podizanje krova je Airbusov patent koji bi omogućio lakši ulazak i izlazak putnika, pogotovo onih u invalidskim kolicima.

3. Emirates će uvesti dodatnih 98 mjesta na avionima Airbus A380-800 tako što će ukinuti prvu klasu sjedišta.

4. Interaktivni prozori su Airbusov patent. Plan je da prozori zapravo budu iPadi.

5. Avion četiri puta brži od Concordea čiji bi let od New Yorka do Londona trebao trajati svega sat vremena.

Možda vas zanima
"Zamrznuti" odnosi
Haris Džinović "zaratio" s kćerkom Đinom: Nemam više emocija, neka je živa i zdrava
22 sata
Šokirali priznanjem
Bivši učesnici showa "Ljubav je na selu" otkrili da su swingeri: "Ne kuže koliko je to fino"
14 min
Najgrozniji zločini
Sud Bosne i Hercegovine ukinuo kućni pritvor ratnom zločincu Dragoljubu Kunarcu
4 sata
Za sada dosupna 4 suda
Veliko olakšanje za građane: Uvjerenje o nevođenju krivičnog postupka od sada možete dobiti online
4 sata